A Sony Interactive Entertainment registrou uma patente no Escritório de Marcas e Patentes dos Estados Unidos para permitir que os espectadores das transmissões influenciem as partidas multijogador nos jogos.

Fonte da imagem: Sony Interactive Entertainment

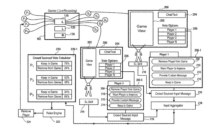
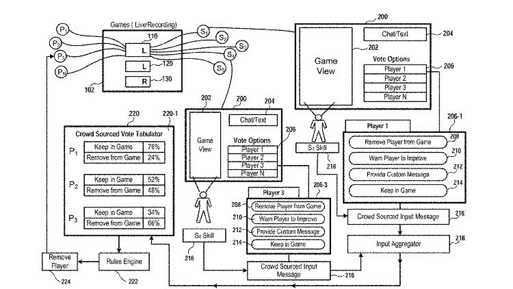
Em particular, os usuários poderão votar pela remoção de um jogador da partida transmitida. Ao mesmo tempo, o sistema avalia os próprios telespectadores, dando aos mais importantes uma voz mais forte na hora de tomar uma decisão.

Os participantes das partidas não terão oportunidade de vetar o veredicto. Os telespectadores serão capazes de avaliar as estatísticas dos jogadores (incluindo a classificação e conquistas) e até mesmo alertar contra o nível insuficientemente alto das habilidades demonstradas.

За удаление игрока из матча должно проголосовать не менее 60 % зрителей (источник изображения: Sony Interactive Entertainment)

No mínimo 60% dos espectadores devem votar para remover um jogador de uma partida. (Fonte da imagem: Sony Interactive Entertainment)

De acordo com a Sony Interactive Entertainment, o sistema será útil para lidar com griefers – esse é o nome de pessoas que interferem nos outros e não trazem nenhum benefício para si, terceiros ou sua equipe.

Também é relatado que a patente implica a capacidade de pagar pela remoção (em moeda real ou do jogo) um valor fixo ou uma fração dele. Um leilão também é possível dentro do sistema.

Источник изображения: Ведомство по патентам и товарным знакам США

Fonte da imagem: Escritório de Patentes e Marcas dos Estados Unidos

A Sony Interactive Entertainment entrou com seu pedido em janeiro de 2020, mas recebeu a aprovação do Escritório de Marcas e Patentes dos EUA apenas alguns dias atrás – em 19 de outubro deste ano.

Como é geralmente o caso, o registro de uma patente não garante seu posterior pedido, no entanto, dá ao detentor da plataforma japonesa o direito exclusivo de usar o sistema no futuro.

Deixe um comentário

O seu endereço de e-mail não será publicado. Campos obrigatórios são marcados com *