Há evidências no código-fonte do Steam de que a Valve pode estar trabalhando em um fone de ouvido de realidade virtual autônomo, codinome Index Deckard. Isso é relatado pelo autor do canal do YouTube SadlyItsBradley.
Fonte: techraptor.net
Lançado há mais de dois anos, o headset Valve Index VR é um dos produtos mais interessantes e caros do mercado. E mesmo com um preço alto, não é fácil adquiri-lo: no início havia uma demanda exuberante pelo aparelho e, posteriormente, a escassez global de componentes semicondutores passou a afetar os volumes de produção. O Valve Index está agora disponível novamente, embora apenas no Kit Valve Index VR. Mas em breve, talvez, uma nova versão dele apareça. Isso foi relatado pelo autor do canal do YouTube SadlyItsBradley com um link para os arquivos fonte do Steam.
Quase nada se sabe sobre as especificações técnicas da versão autônoma do Valve Index, embora haja razões para argumentar que este projeto, de codinome Deckard, está agora nos estágios iniciais de desenvolvimento na Valve. Há uma lista de fones de ouvido VR suportados no código Steam VR, e houve uma adição recente a essa lista, designada “Deckard POC-A”. O blogueiro de vídeo afirma que as letras “POC” significam “Prova de Conceito”, ou seja, “protótipo inicial”. Após a atualização, a posição “Deckard POC-C” foi indicada em arquivos mais recentes, o que pode indicar a criação de uma versão atualizada do protótipo.
Ao mesmo tempo, nota-se que os arquivos correspondentes não foram incluídos na versão de lançamento da plataforma, o que não é surpreendente: o desenvolvedor tentará claramente manter as referências ao projeto apenas em seus servidores internos. Além disso, de acordo com o blogger de vídeo, um “Standalone System Layer” não funcional apareceu na interface da plataforma, bem como um arquivo “deckard_applications.vrmanifest” para Linux. Provavelmente é usado para carregar aplicativos por padrão. Outros links para o projeto Deckard foram encontrados em arquivos internos do Steam, embora nenhum detalhe tenha sido fornecido ainda.
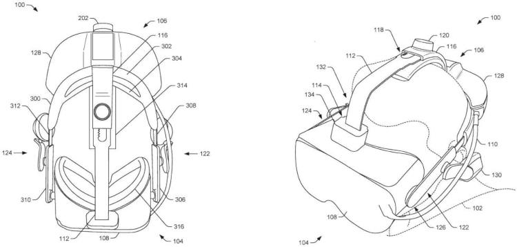
As informações descobertas pelo blogger de vídeo não são a única evidência de trabalho no projeto de uma versão autônoma do Valve Index. Em maio, a Road to VR relatou que a Valve entrou com um pedido de patente em setembro de 2020 que descrevia um fone de ouvido VR com uma unidade traseira volumosa que poderia abrigar componentes sem fio.
Com base nos documentos de patentes e dados do autor do canal SadlyItsBradley, é razoável supor que a Valve está de fato trabalhando em algum tipo de produto de realidade virtual. Muito mais importante é a questão de saber se um determinado produto entrará no mercado. Mais recentemente, a empresa anunciou seu próprio Steam Deck, um interessante PC portátil para jogos que teoricamente suporta jogos de realidade virtual. O lançamento de tal dispositivo indica que a Valve está interessada em fabricar produtos de hardware com sua própria marca, e a empresa tem a oportunidade de fazê-lo. Um fone de ouvido autônomo poderia de alguma forma interagir com o Steam Deck, tornando o console portátil um produto ainda mais interessante. Mas, ainda assim, ainda estamos falando sobre patentes e protótipos, então não há garantia de que o dispositivo entrará no mercado:
