O site da Organização Mundial da Propriedade Intelectual (OMPI) traz informações sobre um smartphone inusitado da Samsung, que prevê o uso de uma tela flexível.

Fonte da imagem: OMPI
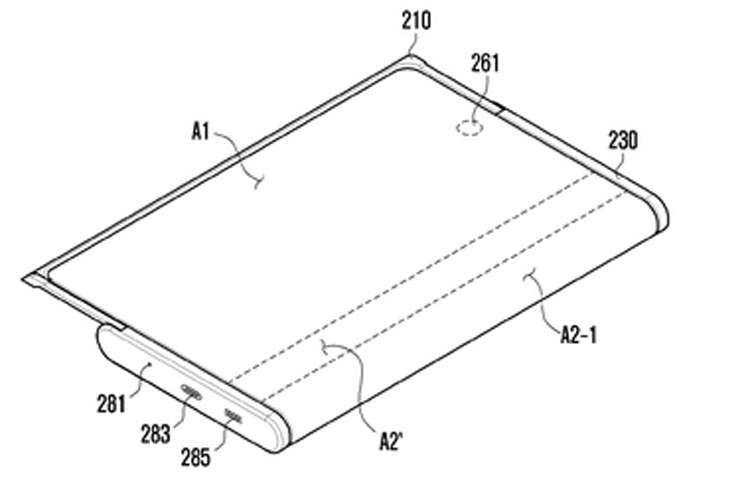
Conforme planejado pela gigante sul-coreana, a tela cobrirá toda a parte frontal e dobrará para a parte de trás, onde ocupará um pouco menos da metade da seção traseira do gabinete.
Estamos falando do uso de uma câmera principal tripla, que também pode ser usada para tirar selfies. Neste modo, a parte de trás da tela funcionará como um visor.

Curiosamente, a tela flexível pode ser movida para transformar o smartphone em algo como um pequeno tablet. Nesse caso, a parte de trás do painel ficará na frente, o que aumentará a área útil da tela em cerca de uma vez e meia.
No entanto, enquanto um smartphone incomum existe apenas na documentação da patente. Sobre o possível momento do lançamento da versão comercial do dispositivo não é relatado.