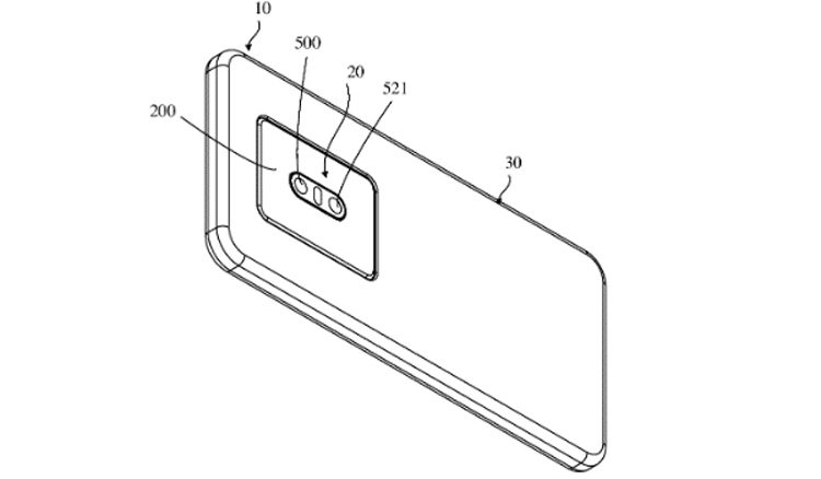
O site da Organização Mundial da Propriedade Intelectual (OMPI) tem a descrição de um OPPO de smartphone muito curioso. Este é um dispositivo equipado com uma câmera principal modular.
Reuters
Segundo a ideia do desenvolvedor chinês, os usuários poderão retirar a unidade da câmera traseira e usá-la para selfies, além de organizar a videotelefonia. Para fazer isso, o módulo pode ser conectado a uma porta USB tipo C e, usando um conector giratório especial, pode ser posicionado em um ângulo conveniente.

As ilustrações mostram que a unidade contém dois componentes ópticos com sensores de imagem e também um flash. Claro, outras configurações serão possíveis – digamos, com três ou quatro sensores.

A patente diz que a unidade removível pode ser dotada de controladores sem fio Wi-Fi e Bluetooth, um chip NFC e bateria própria. Isso permitirá que você o use remotamente de seu smartphone e até mesmo com outros dispositivos, como um laptop.

Por fim, é de notar que a solução de design proposta permitirá aos proprietários a utilização de diferentes unidades de câmera. Além disso, o design modular facilitará os reparos em caso de falha da câmera – o proprietário só precisa instalar uma nova unidade.
