A empresa chinesa Xiaomi, de acordo com o recurso 91mobiles, pode lançar um smartphone com um design muito incomum de scanner de impressão digital para coleta de impressões digitais.
Aqui e abaixo imagens de 91mobiles
A descrição do dispositivo apareceu no site do US Patent and Trademark Office. O pedido de registro do empreendimento foi enviado em março do ano passado, e o documento foi divulgado neste mês.

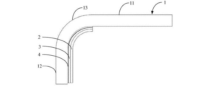
A Xiaomi está pensando em um smartphone com uma tela que será dobrada nas laterais do case. E é na lateral que a empresa pretende colocar um scanner de impressões digitais.
O sensor de impressão digital ficará escondido diretamente atrás da parte dobrada da tela. Aparentemente, o próprio display será feito com a tecnologia AMOLED.

Outros detalhes técnicos sobre o smartphone não foram divulgados. Mas, aparentemente, Xiaomi está projetando algum tipo de modelo premium. Atualmente não há informações sobre o possível momento de aparecimento do dispositivo no mercado comercial.