O Financial Times analisou centenas de registros do US Patent and Trademark Office (USPTO) arquivados pela Meta Platforms (anteriormente Facebook). Isso ajudou a entender quais tecnologias a empresa planeja usar para desenvolver o metaverso, bem como formas de ganhar dinheiro nele com publicidade direcionada e conteúdo patrocinado, que reflete o modelo de negócios existente da Meta, baseado em um negócio de publicidade com faturamento anual de $ 85 bilhões.
Fonte da imagem: Financial Times
O CEO da Meta, Mark Zuckerberg, anunciou sua intenção de gastar US$ 10 bilhões por ano na próxima década para criar um mundo virtual do metaverso. Atualmente, a empresa está desenvolvendo e patenteando ativamente várias tecnologias, incluindo aquelas que usam dados biométricos das pessoas para aumentar o efeito do realismo do mundo virtual e garantir o movimento suave dos avatares digitais dos usuários.
Ao mesmo tempo, a empresa não se esquece do próprio benefício, já no estágio atual, trabalhando em várias formas de ganhar dinheiro, muitas das quais estão de alguma forma ligadas ao conhecido segmento de publicidade Meta. Embora a existência de patentes não signifique que a empresa irá necessariamente implementá-las na prática, elas fornecem mais informações sobre como os negócios da Meta podem se desenvolver no futuro.
O Metaverse contará com uma “loja virtual” que contará com uma variedade de produtos, incluindo réplicas digitais de produtos reais, feitos sob medida por seus fabricantes. “Para nós, o modelo de negócios no metaverso é centrado no comércio. Claramente, a publicidade desempenha um papel nisso”, disse Nick Klegg, chefe de assuntos internacionais da Meta, recentemente.
Algumas das patentes recentes da Meta estão relacionadas às tecnologias de rastreamento ocular e expressão facial, que se destinam principalmente ao uso em um headset VR, onde são implementadas através do uso de câmeras e sensores em miniatura. Desta forma, várias funções podem ser implementadas, por exemplo, uma imagem mais realista ou detalhada pode ser mostrada ao usuário nos locais para onde seu olhar é direcionado.

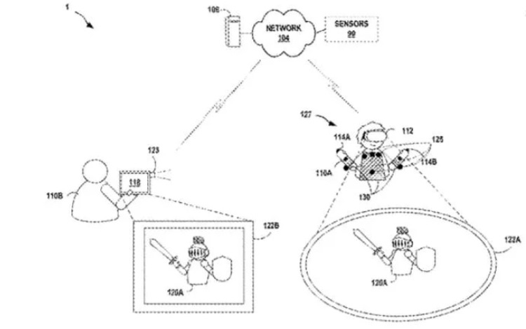
Uma das patentes da Meta, registrada em 4 de janeiro, descreve um sistema para rastrear as expressões faciais de um usuário por meio de um capacete VR para “adaptar o conteúdo da mídia” com base nos dados coletados. Há também uma patente para um “sistema de sensor magnético vestível” que é colocado no corpo do usuário para rastrear seus movimentos e postura. Esta patente é acompanhada por um esboço em que o usuário usa sensores, e no universo virtual aparece como um cavaleiro com uma espada. Outra patente propõe um “mecanismo de personalização de avatares” projetado para criar avatares virtuais 3D a partir de fotos de usuários, inclusive usando uma ferramenta chamada “replicador de pele”.
«Meta pretende ser capaz de modelar você em cada poro da pele, cada fio de cabelo, cada micro-movimento. O objetivo é criar cópias 3D de pessoas, lugares e coisas tão hiper-realistas que sejam indistinguíveis da realidade. Depois disso, a plataforma será usada como intermediária para qualquer gama de serviços”, disse a advogada Noelle Martin, que estuda o Meta há muito tempo.
Algumas das patentes provavelmente ajudarão a Meta a encontrar novas fontes de renda em meio a temores de diminuir o interesse de um público mais jovem pelos principais produtos da empresa, como o site de rede social Facebook. Mark Zuckerberg afirmou que sua empresa não pretende aumentar o preço dos fones de ouvido VR, gerando receita no metaverso de publicidade e vendas de bens e serviços digitais.
Uma das patentes recentes da Meta descreve publicidade personalizada de realidade aumentada com base em idade, sexo, interesses e “como o usuário interage com a plataforma de mídia social”. Outra patente descreve uma tecnologia que permitirá que empresas terceirizadas patrocinem a criação de vários itens virtuais no metaverso para sua venda posterior. As patentes mostram que a Meta pretende oferecer uma publicidade ainda mais personalizada no mundo virtual do que os produtos existentes da empresa já possuem.