Não temos dúvidas de que as telas dobráveis se tornarão um novo ponto de crescimento no mercado de smartphones. Telas dobráveis prometem um dispositivo compacto com uma tela bastante grande. Na verdade, eles permitem que você coloque um tablet no bolso. O vencedor é aquele cujas telas são mais confiáveis na dobra, e isso ainda não é tão simples. Portanto, a LG Display e a Samsung embarcaram na busca de tecnologias de dobra mais avançadas.
Smartphone Samsung Galaxy Z Fold 2 dobrável
De acordo com fontes sul-coreanas, recentemente se tornou conhecido sobre novos pedidos de patentes feitos pela LG Display e Samsung para tecnologias que aumentam a confiabilidade e durabilidade da parte dobrável dos displays. Há um longo caminho entre a patente e a produção, mas as informações do pedido permitem entender para onde e como cada uma dessas empresas se moverá.

Ilustração de patente da LG Display
De acordo com a patente LG Display, os engenheiros da empresa propõem o uso de uma certa camada de amortecimento (camada de controle) na curva da tela OLED (substrato). Esta camada ajudará a minimizar a tensão no substrato durante a flexão e extensão da tela. Além disso, a camada de compensação ajudará a evitar dobras da tela nas dobras. Este é um tipo de suporte ou muleta.
O pedido de patente da LG Display declara: “Desenvolvemos um método que pode minimizar a deformação, reduzindo a tensão que pode ser exercida em uma área específica ao flexionar um substrato flexível. Confirmamos que este método reduz significativamente o estresse no substrato OLED flexível. “

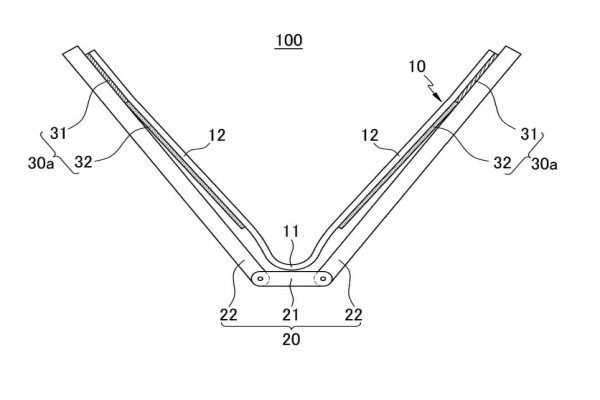
Ilustração de patente Samsung
Os engenheiros da Samsung seguiram um caminho diferente. Em vez de mecanismos de amortecimento que protegem as telas no ponto de curvatura, propõe-se enfraquecer as tensões que surgem no substrato OLED, permitindo que a tela se desprenda da base quando ocorrer tensão (tensão). Para fazer isso, a Samsung desenvolveu um adesivo sensível à pressão (PSA) que pode aderir com segurança às superfícies e descolar mesmo sob leve pressão.
Hoje é difícil dizer qual tecnologia terá sucesso comercial. De qualquer forma, a engenharia está trabalhando em uma direção interessante e seguir a evolução das telas flexíveis é mais empolgante e empolgante.