O Escritório de Marcas e Patentes dos Estados Unidos (USPTO) publicou uma patente para outro smartphone incomum da empresa sul-coreana LG Electronics.
Reuters
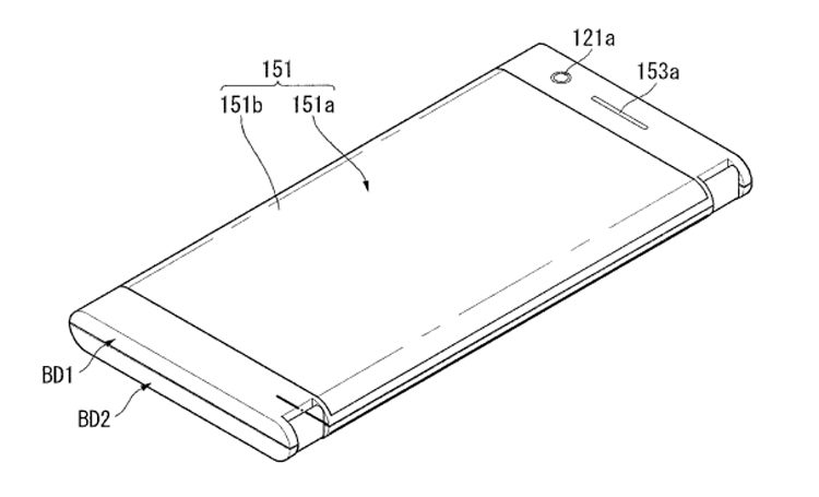
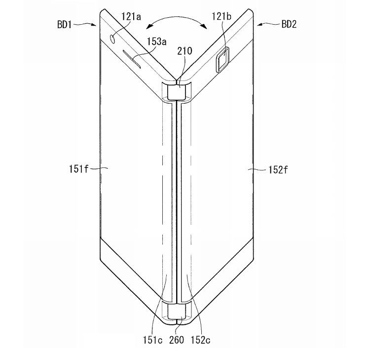
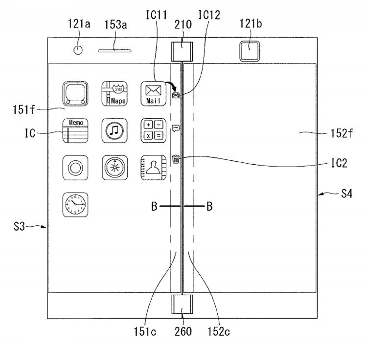
O documento tem um nome lacônico “Terminal móvel”. Ele descreve um dispositivo dobrável em um formato de livro. Como você pode ver nas ilustrações, na parte externa de cada uma das metades do dispositivo, haverá uma tela que se dobra na área da articulação articulada.

Um alto-falante e uma única câmera estarão localizados acima da tela na parte frontal. Uma câmera também será instalada acima da tela traseira: as imagens mostram um único módulo, mas teoricamente pode haver vários elementos ópticos e um flash.

A presença de dois monitores em lados opostos do caderno permitirá a realização de diferentes modos de operação. Por exemplo, ao implantar um dispositivo, o usuário pode transformá-lo em um pequeno tablet.
Quando fechados, os lados curvos dos visores podem exibir controles auxiliares, informações úteis etc.

O pedido de patente foi arquivado em abril de 2018, mas o desenvolvimento está registrado agora. Ainda não está claro se um smartphone com o design descrito aparecerá no mercado comercial.