
O Escritório de Marcas e Patentes dos Estados Unidos (USPTO) concedeu à Samsung uma patente para um smartphone com um design muito incomum.
O documento publicado descreve o “Dispositivo de exibição”. Estamos falando de um dispositivo celular equipado com uma tela flexível.
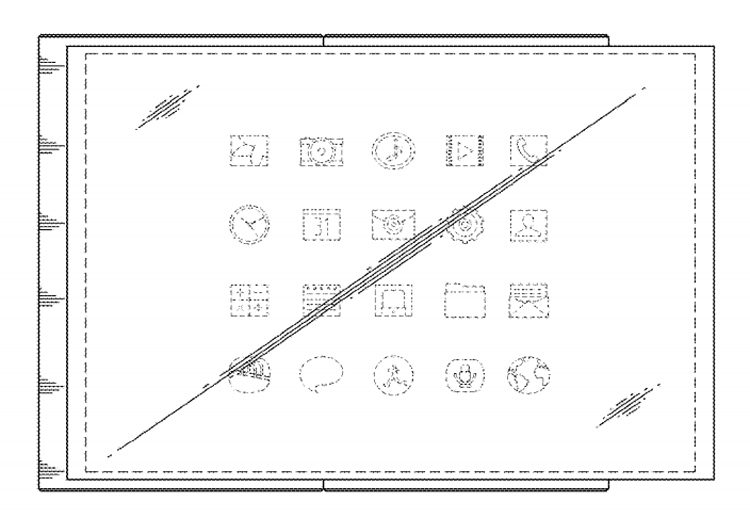
Como você pode ver nas ilustrações, a caixa do dispositivo consiste em duas metades, abrindo como um livro. A tela é bastante grande: de fato, o usuário tem à sua disposição um mini-tablet.
Quando dobrada, a tela flexível fica dentro do gabinete – entre suas metades. Ao mesmo tempo, o painel não se encaixa completamente dentro do dispositivo: uma pequena parte da tela se projeta além do gabinete. Esta seção pode ser dividida em torno do smartphone, obtendo uma tela vertical estreita para exibir notificações e informações úteis.
A patente pertence à categoria de design, portanto, as características técnicas do gadget não são fornecidas. De qualquer forma, embora o dispositivo descrito exista apenas no papel, nada é anunciado sobre os planos de trazer esse dispositivo ao mercado.
.
