A Apple patenteou uma nova versão do teclado plug-in para tablets iPad – a julgar pelo aplicativo, retratando software no estilo do macOS, com este teclado, o iPad poderá se transformar em uma espécie de MacBook. A nova variante parece mais confortável do que a maioria dos teclados atuais do iPad.

Fonte da imagem: Apple
Baseado nas fotos? os usuários poderão acabar com algum tipo de laptop com uma tela destacável. Se as variantes de plug-in do Magic Keyboard para iPad disponíveis comercialmente se parecem mais com um híbrido de uma caixa e teclas relativamente macias, o novo design é precisamente uma capa de teclado rígido.

Fonte da imagem: Apple
O esboço mostra uma base conectada ao iPad, aproximadamente igual à dos dispositivos Microsoft Surface. Está equipado com teclas eletromecânicas e um grande touchpad, característico do MacBook. A julgar pela descrição da patente? o modelo pode ter um slot para uma caneta e uma pequena tela sensível ao toque semelhante à Touch Bar.
Teclados com especificações semelhantes, mas sem a Touch Bar, já estão disponíveis em terceiros, como a Logitech. Em combinação com o iPad OS, os tablets da Apple já são capazes de substituir os laptops hoje.

Fonte da imagem: Apple
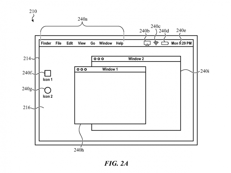
A imagem também mostra elementos de interface como janelas no estilo do macOS – porém, o software em si não é descrito de forma alguma no aplicativo. Embora a Apple nunca tenha mencionado a intenção de integrar o macOS com tablets, a própria aparência do iPadOS indica indiretamente um movimento gradual nessa direção. Uma versão especial do sistema operacional para tablets está agora em sua quarta encarnação.

Fonte da imagem: Apple
Ao mesmo tempo, outras patentes da Apple demonstram os extensos planos da empresa. Portanto, a porta universal permite conectar um teclado e outros acessórios da própria Apple e de fabricantes de terceiros – por exemplo, câmeras e microfones e até, a julgar pela descrição, uma segunda tela. Importa ter em conta que esta não é a primeira vez que a empresa patenteou soluções, muitas das quais não conseguiram passar da fase de esboços.